«Выполняем работы по ГОСТу!» – сегодня этим слоганом маркетологи привлекают заказчиков в самых разных сферах. Из тех, кто намерен пригласить монтажников по установке окон, мало найдется таких клиентов, которые читали бы стандарты, содержащие требования к выполнению этих работ, или просто знает об их существовании.
Попробуем разобраться в том, какую информацию содержат эти документы и как они должны применяться на практике.
Нормативная документация
Установка новых оконных блоков в процессе строительства или ремонта должна подчиняться требованиям нескольких государственных стандартов. Основным является ГОСТ 30971-2012 «Швы монтажные узлов примыкания оконных блоков к стеновым проемам».






В нем разъясняются термины, приводит технические требования к монтажным швам и их классификацию. Кроме того, содержится более конкретная информация, а именно:
- требования к материалам, из которых формируется шов;
- примерный расчет изменения величины оконного блока под воздействием температуры;
- примеры конструкции узлов и правила крепления блоков к стеновым проемам;
- методики расчета температурного режима и определения водо- и воздухопроницаемости в естественных и лабораторных условиях.
Техническая документация, нормирующая изготовление и монтаж окон, год от года дополняется и совершенствуется, едва поспевая за быстро развивающимися технологиями. Чуть более десяти лет в нашей стране был актуален ГОСТ 30971-2002. Однако в 2012 году вышла его усовершенствованная версия с учетом новых требований СНиПов. Поэтому, используя данный стандарт, важно обращать внимание на год его издания.

В 2021 году был создан ГОСТ 23166-2021, содержащий информацию о требованиях к самим оконным и балконным блокам. Помимо общей информации, аналогичной предыдущему стандарту, документ включает:
- основные требования к конструкции блоков;
- размеры блоков с допусками;
- технические решения для проветривания, звукоизоляции и защиты от солнечных лучей;
- требования к комплектующим элементам и материалам;
- основополагающие эксплуатационные характеристики;
- рекомендации по проектированию;
- правила к приемке, транспортированию, эксплуатации и обслуживанию оконных и балконных блоков.
Информацию о технических требованиях блокам, изготовленным из поливинилхлорида содержит ГОСТ 30674-99. Он устанавливает размеры изделий с предельными отклонениями, а также требования к профилям и комплектующим деталям и изделиям (филенкам, прокладкам, вкладышам, оконным приборам) и их установке.
Для изготовления стеклопакетов разработан отдельный нормативный документ – ГОСТ 24866-2014. В нем приводится классификация этих изделий, требования к материалам и безопасности. Очень подробно рассмотрены вопросы контроля качества стеклопакетов:
- определение геометрических размеров;
- отклонения от плоскостности и прямолинейности;
- оценка внешнего вида;
- контроль герметичности, оптических искажений, точки росы, долговечности и многие другие параметры.
Таким образом, сегодня в Российской Федерации существует комплект нормативной технической документации, на основании требований которой должны выпускаться и устанавливаться оконные и балконные блоки в различных помещениях.
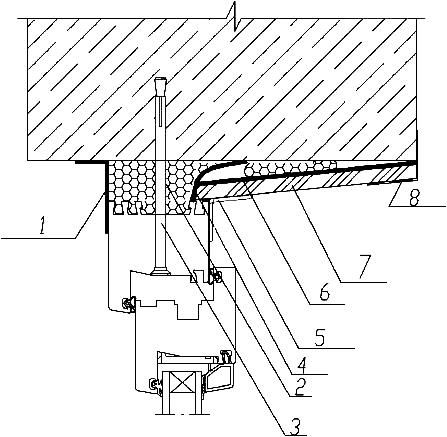
Порядок монтажа оконного блока
Работы по монтажу оконных блоков должны вестись в определенной последовательности:
- Подготовка нового оконного блока к монтажу, для чего необходимо снять створки, стеклопакеты, установить подставочный профиль (если необходимо) и другое.
- Демонтаж старого окна.


- Очистка оконного проема от грязи, остатков утеплителя, старой и рыхлой штукатурки и т.п. При наличии масляных загрязнений поверхность необходимо обезжирить.


- Обеспыливание оконного проема при помощи строительного пылесоса.
- Проверка геометрии проема и исправление дефектов поверхности. Сколы, раковины, осыпавшиеся швы кирпичной кладки необходимо выровнять водостойкими штукатурными смесями. Большие полости допускается заполнять вставками из жесткого пенополиуретана или аналогичных материалов, а также древесины, предварительно обработанной антисептиком. Поверхность оконного проема рекомендуется обработать специальными укрепляющими составами.
- Установка блока в проем. На данном этапе необходимо выдержать зазоры по периметру, горизонтальность и вертикальность сторон блока, допустимое отклонение от горизонтали и вертикали не более 1,5 мм на длине 1 м. Временную фиксацию коробки выполняют при помощи монтажных пластиковых клиньев, которые удаляются перед нанесением утеплительного слоя монтажной пены.
- Крепление блока в проеме при помощи распорных рамных дюбелей, или гибких анкерных пластин.

При этом важно соблюсти расстояние от ближайшего крепежа до внутреннего угла блока в пределах от 150 до 180 мм.

В том случае, если использован импост, эта величина должна находиться в интервале от 120 до 180 мм. Расстояние между крепежом нужно выдержать от 500 до 800 мм, в зависимости от материала, из которого изготовлена коробка. - Удаление монтажных клиньев, установка опорных колодок.

- Установка снятых стеклопакетов и закрепление их при помощи штапиков.


- Установка на место снятых створок окна.
- Заполнение зазора монтажной пеной.

- Нанесение пароизоляции на внутреннюю и гидроизоляции на наружную поверхность монтажного шва. При этом не допускается обрезать лишнюю пену с наружной стороны. Гидро- и пароизоляцию можно выполнить при помощи мастик или специальных лент.

- Подгонка и закрепление слива. Слив должен быть изготовлен из листового металла толщиной не менее 0,5 мм. Внутреннюю поверхность слива необходимо покрыть шумоизоляционной мастикой или лентой.


- Подгонка и установка на место подоконной доски.
- Проверка открывания и окончательная регулировка створок окна.
- Отделка откосов.
- Удаление защитной пленки с профиля из которого изготовлены оконная коробка и створки окна. Установка на место декоративных элементов (заглушки, накладки и т.п.)
Практика показывает, что далеко не всеми компаниями, которые занимаются монтажом пластиковых окон, соблюдаются требования стандартов. Они выполняют их частично или вовсе пренебрегают ими. В таблице приводятся типичные нарушения технологии в сравнении с правильным порядком монтажа.
| Наименование операции | В соответствии с требованиями стандартов | Без учета требований ГОСТ |
| Выполнение подготовительных работ в стеновом проеме | Тщательная очистка от мусора (в зимний период – ото льда); ликвидация дефектов, выравнивание плоских поверхностей (при использовании ПСУЛ – обработка праймером) | Как правило, проводится только уборка крупного строительного мусора |
| Крепление оконного блока | Использование крепежа в соответствии с ГОСТом; точное соблюдение расстояния между крепежными элементами, а также выдерживание допусков по горизонтали и вертикали | Специализированный крепеж заменяется на анкерные болты, которые устанавливаются на произвольном расстоянии; проверка отклонений по вертикали обычно не выполняется |
| Создание монтажного шва | Использование монтажной пены, соответствующей погодным условиям; также применение уплотнительных лент; задувка производится на каждом этапе | Используется монтажная пена без учета температуры воздуха; защитные средства не применяются; задувка выполняется один раз |
| Отделка откосов | Заделка щелей между оконным проемом и откосом; запенивание пространства между стеной о откосом; выбор облицовочных материалов по ГОСТу | Полное или частичное отсутствие утеплителя; для облицовки используются неподходящие материала; фиксация выполняется неверно |
| Установка подоконников и отливов | Монтаж отливов и подоконников в соответствии с геометрическими параметрами, заданными ГОСТом; изготовление их из материалов, поглощающих звук | Применение тонких листовых материалов, при попадании на которые капли воды издают шум; неправильное соединение подоконников и откосов под произвольным углом |

Особенности зимнего монтажа оконных блоков
Квалифицированные мастера, знающие секреты и тонкости технологии установки пластиковых блоков, а также особенности материалов, поэтому могут качественно произвести монтаж в любое время года.
Специалисты знают, что принципиально «зимняя» технология почти не отличается от «летней», особенности заключаются в некоторых моментах.
Так, в соответствии с ГОСТ 30971-2012 традиционный метод монтажа в зимний период не может быть рекомендован при температуре ниже – 10 °С.
Однако при использовании специальных приспособлений и приемов работы вполне возможна установка блоков при более низких температурах воздуха. Поясним на примере.
Стеклопакет представляет собой герметичный сосуд, наполненный газом. Поэтому чем ниже температура окружающего воздуха, тем меньше давление внутри него. В итоге разность внешнего и внутреннего давления может вызвать разрушение стеклопакета.


Может возникнуть вопрос: каким образом эксплуатируются стеклопакеты в условиях Средней полосы, Сибири и на Севере? Это возможно только потому, что с комнатной стороны стеклопакет постоянно подогревается, и температура газа, заполняющего баллон, поддерживается в пределах нормы.
Таким образом,»зимний» монтаж должен производиться только в теплом помещении.
Нюансы зимнего монтажа
Вторым обязательным условием является использование герметизирующих материалов, рассчитанных на отрицательные температуры. Производители монтажной пены указывают, что она работает при температуре от – 15 до – 25 °С.


Однако даже если пена подобрана правильно, важно иметь ввиду, что перед началом монтажа баллон не менее суток должен находиться в помещении с температурой + 20 °С, а при работе нужно следить, чтобы он не остывал ниже + 5 °С.
Лента ПСУЛ, которая используется в качества паропроницаемой изоляции, как и пена, должна быть рассчитана на эксплуатацию при отрицательных температурах. При ее использовании оконный проем должен быть обработан праймером. Однако поскольку эти составы, как правило, не рассчитаны на отрицательные температуры, проем контуру прогревают с помощью строительного фена и т. п.


Еще один нюанс касается самих оконных блоков. Поливинилхлорид, из которого они изготавливаются, при отрицательных температурах несколько меняет свойства, в частности, приобретает хрупкость. При обычной эксплуатации – открывание и закрывание окон – это некритично.
Однако во время проведения монтажных работ, связанных с перемещением и приложением определенных нагрузок, поверхность может легко повредиться.
Чтобы этого не произошло, непосредственно перед монтажом оконные блоки следует внести в помещение не менее чем за сутки.
Чтобы удержать тепло, перед началом работ с наружной стороны устанавливается тепловой экран. Он представляет собой надувную раму с защитной пленкой или тканью. Для установки защитного экрана в проем вставляются телескопические распорки. Затем он крепится к ним ремнями и рама надувается воздухом.


Монтаж оконных блоков в неотапливаемых помещениях


Зимой может возникнуть необходимость установки окон на даче, на складе или в другом холодном помещении. В этом случае должны соблюдаться те же требования, которые предъявляются к подобным работам в теплом доме или в квартире с центральным отоплением.
В первую очередь, помещение необходимо прогреть. Например, если есть возможность, можно протопить печь. Если отопление отсутствует в принципе, можно использовать тепловую пушку. И в первом, и во втором случае время прогрева должно быть не менее суток. Сберечь тепло поможет тепловой экран.
Важно отметить, что не всегда в холодных помещениях можно ставить окна зимой. Монтаж «фонарей» и обустройство мансарды лучше отложить, как минимум, до поздней весны. Это связано с особенностями кровельной конструкции, которая предъявляет особые требования к монтажным работам.
Плюсы и минусы зимнего монтажа


Как известно, максимальная нагрузка на оконные компании приходится на лето, поскольку большинство заказчиков следуют установившимся стереотипам:
- после демонтажа старых окон помещение сильно переохладится, что приведет к дискомфорту, гибели комнатных растений и даже к разморозке отопительной системы;
- пластик, из которого сделаны блоки, и монтажные материалы не рассчитаны на отрицательные температуры;
- зимой сложнее проверить качество монтажа;
- при одинаковых ценах лучше сделать заказ летом, чтобы избежать названных проблем.
Соображения по поводу первых двух пунктов были изложены выше, поэтому сомнений оставаться не может: тепловые экраны, специальные материалы и приемы работы сводят на нет все эти опасения.
Важно отметить, что маркетологи и менеджеры, организующие работу монтажных фирм, опираясь на многолетний опыт, стремятся обеспечить равномерную загрузку сотрудников, поэтому зимой всегда предоставляются ощутимые скидки. Летом, при высокой загрузке, монтажники порой физически не могут уделить достаточно внимания каждому объекту, что может повлиять на качество работы. Зимой это исключено.
Кроме того, оконный блок, установленный зимой, сразу оказывается в экстремальной климатической ситуации, поэтому все недочеты проявляются и устраняются очень быстро.